Каталог
Каталог Написать в WhatsApp
Мотоэкипировка

Бак топливный КВАДРОЦИКЛА STELS ATV 50 C

Бак топливный КВАДРОЦИКЛА STELS ATV 50 C в Нижнем Новгороде: актуальный каталог, цены, фото, описание. Купите бак топливный квадроцикла stels atv 50 c в кредит – оформите заявку онлайн за 1 минуту!

Оригинальные запчасти

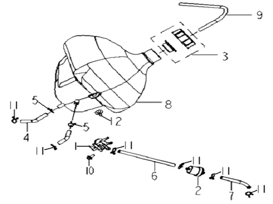
Артикул НАИМЕНОВАНИЕ Кол-во деталей в узле Примечание Наличие Цена Аналоги Фото
1 LU033024 Кран топливный, в сборе 50300G00S000

Под заказ

1

Под заказ

уточнить

590

Купить
2 LU033022 Фильтр топливный в сборе 50340G00S000

Под заказ

1

Под заказ

уточнить

Купить
3 LU033009 Крышка топливного бака, пластик 50200G00S000

Под заказ

1

Под заказ

уточнить

550

Купить
4 LU017290 Хомут пружинный 11мм, сталь 50309B20T000,26109-058-0000

Под заказ

2

Под заказ

уточнить

120

Купить
5 LU022348 Шланг масляный II 4.5x8.5x160мм, резина 50302G00S000

Под заказ

1

Под заказ

уточнить

40

Купить
6 LU022349 Шланг масляный III 4.5x8.5x90мм, резина 50304G00S000

Под заказ

1

Под заказ

уточнить

20

Купить
7 LU033026 Бак топливный 50100G00S000

Под заказ

1

Под заказ

уточнить

550

Купить
8 LU033450 Трубка топливной системы, дренажная, 9x5x240мм, резина 50700G00S000

Под заказ

1

Под заказ

уточнить

Купить
9 LU016423 Хомут пружинный 8 мм, сталь 50307BM0T000,50306B20T000,91503-055-0000,50306J00P000

Под заказ

6

Под заказ

уточнить

60

Купить

Нулевая цена не означает отсутствие товара. Оформите заказ, и менеджер сообщит вам цену и наличие товара, предварительно запросив их у поставщика

Главная Магазины
Корзина0
Профиль