Мы используем cookie для наилучшего представления нашего сайта. Подробнее об этом в Политике конфиденциальности.
Ок

Саранск

Ваш город:
Саранск (Республика Мордовия)?
Нет
Да
Каталог
Каталог Написать в WhatsApp
Мотоэкипировка

Крепление двигателя, опоры для ног КВАДРОЦИКЛА STELS ATV 110 D (603)

Крепление двигателя, опоры для ног КВАДРОЦИКЛА STELS ATV 110 D (603) в Нижнем Новгороде: актуальный каталог, цены, фото, описание. Купите крепление двигателя, опоры для ног квадроцикла stels atv 110 d (603) в кредит – оформите заявку онлайн за 1 минуту!

Оригинальные запчасти

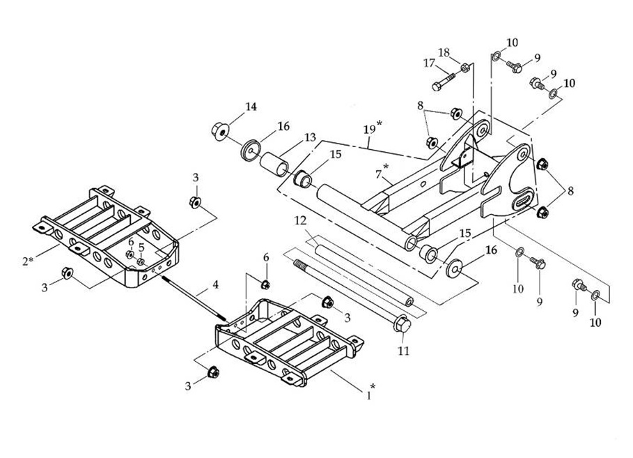
Артикул НАИМЕНОВАНИЕ Кол-во деталей в узле Примечание Наличие Цена Аналоги Фото
1 LU020441 Кронштейн опоры для ног (черный), левый/правый F030008-50

Под заказ

1
BLACK
BLACK

Под заказ

уточнить

1 000

Купить
2 LU020443 Кронштейн опоры для ног (черный), левый/правый F040103-50

Под заказ

1
RIGHT SIDE,BLACK&nbs...
RIGHT SIDE,BLACK  Foot Brake

Под заказ

уточнить

1 220

Купить
3 LU020446 Шпилька M10х1.25х256мм, сталь A140004-42

Под заказ

1
M8X1.25X256L
M8X1.25X256L

Под заказ

уточнить

Купить
4 LU013785 Гайка с фланцем самоконтр. М8х1.25мм, сталь 9203-08-125

Под заказ

2

Под заказ

уточнить

100

Купить
5 LU020483 Вилка маятниковая задней оси (черный) F020007-48

Под заказ

1
BLACK
BLACK

Под заказ

уточнить

Купить
6 LU013984 Гайка самоконтрящаяся M12х1.25мм, сталь A060008-41,15228H03F000,6187.2-12-00,6184.2-12-00,B040112125

Под заказ

4
M12×1.25
M12×1.25

Под заказ

уточнить

30

Купить
7 LU014698 Шайба 12.5x30x3мм, сталь A080060-41

Под заказ

4
Ø12.5xØ30x3t
Ø12.5xØ30x3t

Под заказ

уточнить

Купить
8 LU020459 Болт с фланцем M14х1.5х282мм, сталь A050002-41

Под заказ

1
M14X1.5X282L
M14X1.5X282L

Под заказ

уточнить

Купить
9 LU020491 Втулка распорная 20х14.1х253.3мм, сталь F020010-00

Под заказ

1
Ø20XØ14.1X253.3L
Ø20XØ14.1X253.3L

Под заказ

уточнить

Купить
10 LU018849 Втулка вилки маятниковой задней оси, резина F020132-00

Под заказ

1

Под заказ

уточнить

60

Купить
11 LU016483 Гайка с фланцем самоконтр.M14х1.5, сталь B04171415064,A060006-41,90301-F12-0000,020206

Под заказ

1

Под заказ

уточнить

170

Купить
12 LU020508 Пыльник вилки маятниковой задней оси, сталь F020030-00

Под заказ

2

Под заказ

уточнить

Купить
13 LU020514 Болт M10х1.25х50мм, сталь A050004-41

Под заказ

1
M10X1.25X50L
M10X1.25X50L

Под заказ

уточнить

Купить
14 LU014180 Гайка M10х1.25мм, сталь B04061012555,B04021012554,A060002-41,FT50T-1012102,617110000,6187-10-1.25,GB

Под заказ

1

Под заказ

уточнить

70

Купить
15 LU019174 Вилка маятниковая задней оси (черный), в сборе F020577-48

Под заказ

1
BLACK
BLACK

Под заказ

уточнить

5 280

Купить

Нулевая цена не означает отсутствие товара. Оформите заказ, и менеджер сообщит вам цену и наличие товара, предварительно запросив их у поставщика

Главная Магазины
Корзина0
Профиль